
BEST
sulh***님이
비즈폼을 추천합니다.
비즈폼을 추천합니다.
비즈폼으로 일의 효율을 바꾸세요.
하루 300원으로 문서 작성 시간을 월 평균 20시간 절약하세요!
프리미엄 멤버십
9,000원/월
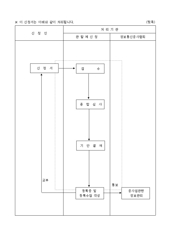
[별지 제4호 서식] 정보통신공사업법 제14조의 규정에 의하여 정보통신 공사업의 등록을 신청할 때 사용하는 양식입니다.

수업듣는 아이들 수강일자와 수강료 납부내역을 다이어리에 적어 매번 체크하고 관리해왔는데요~이번에 인원이 10명으로 늘어나서~^^;;
관리에 도움이 될 만한 ...

매입매출재고 서식을 단품으로 구입했다가 프리미엄으로 변경했는데요. 매입매출장만 구매하려고 했는데 이 안에 거래 명세서와 수금도 한번에 모두 관리할수 있어서 여러 ...
매입매출재고 통합관리 프로그램(대시보드, 일별현황, 월별현황, 거래처별현황, 상품별판매현황, 재고현황, 미지급미수금현황, 거래처원장, 견적서, 거래명세서, 세금계산서, 계산서)
이번주 무료메일에서 무료다운로드 받으실 수 있습니다.
회원님의 메일함을 확인해주세요! (매주 화요일 발송)
※ 이번주에 신청하시면, 다음주 메일부터 받아보실 수 있습니다.