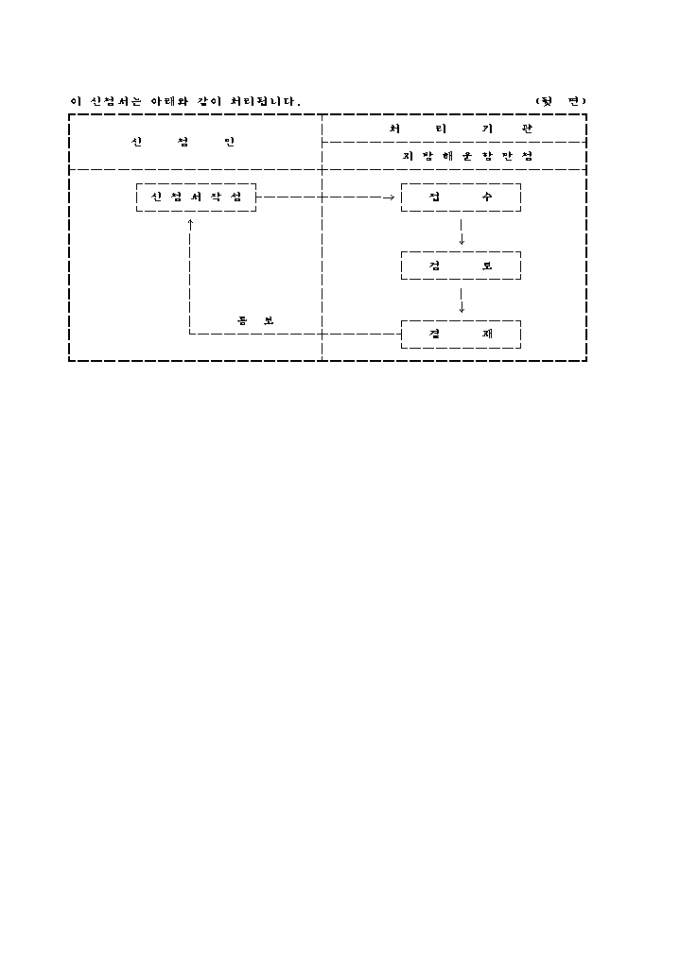
내항여객운송사업운임·요금(인가, 변경신고서)

카테고리 샘플 운전/운송업
조회수 6,756
이용등급 무료

비즈폼으로 일의 효율을 바꾸세요.

하루 300으로 문서 작성 시간을 월 평균 20시간 절약하세요!

프리미엄 멤버십

9,000원/월
  • 최근 30일3,353명이 가입했어요!
  • 현재 1,050명의 사용자가 이용 중이에요!
문서서식은 역시
비즈폼!

20,702명의 비즈폼 회원이
평가한 평균 별점!

9.7/ 10.0
후기 작성하러 가기
  • BEST
    sulwh***님이
    비즈폼을 추천합니다.

    사무직은 처음이라 서식이 낯선 저에게 비즈폼은 제게 든든한 무기가 되어주었습니다.
    그렇다할 엑셀 지식도, 서식 이름조차 무지했던 제가 업무에 필요한 서류를 ...

    [2026년] 표준 근로계약서
  • BEST
    bigibig***님이
    비즈폼을 추천합니다.

    따로 회사에서 기장을 맡기고 있어서 간단하게 통장정리, 내역 보고용으로 쓸 서식을 찾고 있어서 이것저것 다운로드 해봤는데 제가 딱 원하는 서식을 찾았습니다. 군더...

    입출금 통합관리(대시보드, 금전출납부, 총계정원장, 일계표, 월계표, 년계표)
DO THE Smart Block
  • 세무달력_26_2월세무일정 핫클릭B_29_2026 회사규정패키지
  • 연말정산_12_13월의 월급, 연말정산 서식 10선 핫클릭B_28_2025베스트서식어워드
  • 분기별 PPT템플릿_13_2026년,1분기 연말정산_11_2026년 연말정산
  • 핫클릭B_27_2026비즈폼근로계약서 제도_14_2026년 연봉실수령액
파워링크 광고신청
Good Content Service 비즈폼 컨텐츠 서비스,문서서식사이트 최초우수성 인증