
BEST
banggGaga***님이
비즈폼을 추천합니다.
비즈폼을 추천합니다.
비즈폼으로 일의 효율을 바꾸세요.
하루 300원으로 문서 작성 시간을 월 평균 20시간 절약하세요!
프리미엄 멤버십
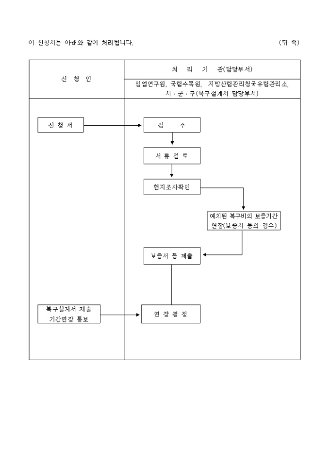
9,000원/월1. 산지관리법 제40조제2항 및 동법시행규칙 제42조제4항의 규정에 따른 복구설계서 제출기간 연장 신청서식입니다. 2. 허가(신고, 매각, 무상양여)번호, 복구면적, 당초제출기간, 연장사유 등의 기재란

매입매출재고 서식을 단품으로 구입했다가 프리미엄으로 변경했는데요. 매입매출장만 구매하려고 했는데 이 안에 거래 명세서와 수금도 한번에 모두 관리할수 있어서 여러 ...
매입매출재고 통합관리 프로그램(일별현황, 월별현황, 거래처별현황, 상품별판매현황, 재고현황, 미지급미수금현황, 거래처원장, 견적서, 거래명세서, 세금계산서, 계산서)
전통시장에서도 ppt를 많이 사용하다보니 프리미엄으로 가입하게 되었습니다. 필요한 것들이 거의 무료로 다운받다보니 너무나 간편하고 많은 고민없이 사용하게 되었습니...
포토, 매거진형 보고서 PPT 패키지(사업제안서, 업무보고서, 결산보고서, 제품제안서, 영업보고서, 공연기획서, 광고기획서)
이번주 무료메일에서 무료다운로드 받으실 수 있습니다.
회원님의 메일함을 확인해주세요! (매주 화요일 발송)
※ 이번주에 신청하시면, 다음주 메일부터 받아보실 수 있습니다.