
BEST
sohee3***님이
비즈폼을 추천합니다.
비즈폼을 추천합니다.
비즈폼으로 일의 효율을 바꾸세요.
하루 300원으로 문서 작성 시간을 월 평균 20시간 절약하세요!
프리미엄 멤버십
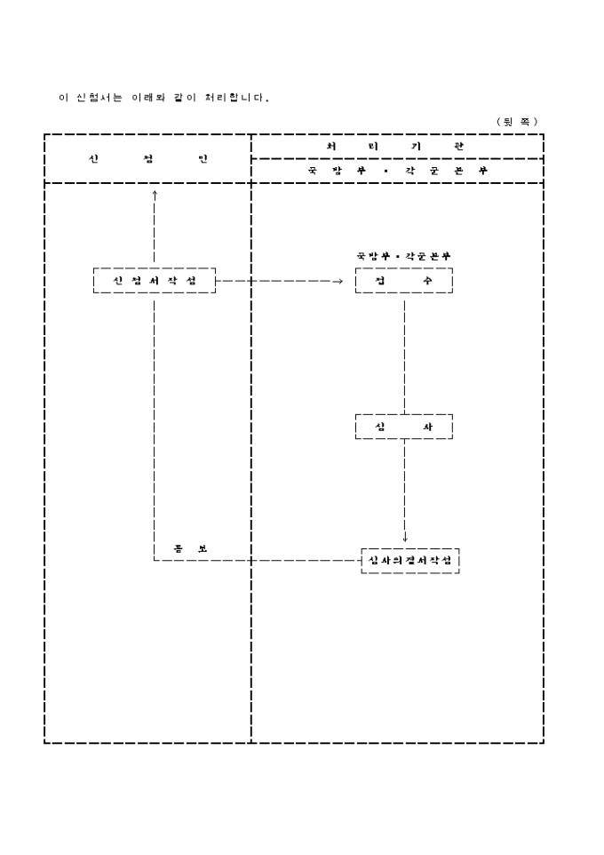
9,000원/월보충역 편입 처분 취소신청서 양식 예제입니다. 병역법 제66조제3항의 규정에 의하여 보충역편입처분의 취소를 신청합니다. 년 월 일 출원인 (서명 또는 인) 귀 하

기존에 비즈폼에서 다운받았던 매입매출장도 정말 잘 쓰고 있었는데 막상 저희는 세금계산서를 국세청에서 직접발행해서 그런지 매입매출장도 좀 간단히 작성하고 싶고, ...
매입매출 자금관리 통합 프로그램(거래처관리, 목록관리, 매입지급내역, 매출수금내역, 일계표, 월계표, 년계표, 총계정원장, 거래처현황, 거래처원장, 계정과목원장)
매입매출재고 서식을 단품으로 구입했다가 프리미엄으로 변경했는데요. 매입매출장만 구매하려고 했는데 이 안에 거래 명세서와 수금도 한번에 모두 관리할수 있어서 여러 ...
매입매출재고 통합관리 프로그램(일별현황, 월별현황, 거래처별현황, 상품별판매현황, 재고현황, 미지급미수금현황, 거래처원장, 견적서, 거래명세서, 세금계산서, 계산서)
이번주 무료메일에서 무료다운로드 받으실 수 있습니다.
회원님의 메일함을 확인해주세요! (매주 화요일 발송)
※ 이번주에 신청하시면, 다음주 메일부터 받아보실 수 있습니다.