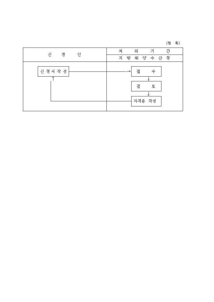
구명정수자격증교부신청서

조회수 3,334
이용등급 무료

비즈폼으로 일의 효율을 바꾸세요.

하루 300으로 문서 작성 시간을 월 평균 20시간 절약하세요!

프리미엄 멤버십

9,000원/월
  • 최근 30일3,164명이 가입했어요!
  • 현재 2,031명의 사용자가 이용 중이에요!
구명정수자격증교부신청서
서식 특징

대한민국 정부가 사무의 간소화 및 정보화를 위해 제정하는 사무관리규정에 따라 배포하는 표준서식 입니다. 법규문서, 고시·공고 등에 쓰이는 공고문서, 허가·인가·승인·등록·증명에 관련된 민원문서 등 다양한 행정문서가 개정되었습니다.

문서서식은 역시
비즈폼!

20,716명의 비즈폼 회원이
평가한 평균 별점!

9.7/ 10.0
후기 작성하러 가기
DO THE Smart Block
  • 시즌_27_스승의날 행사 엑셀서식추천_17_가계부 대시보드
  • 부서별 서식_18_청구서와 영수증 종합소득세_06_직장인 종합소득세 신고
  • 핫클릭B_34_2026연차관리프로그램업그레이드 세무달력_29_5월세무일정
  • 가정의 달 디자인 패키지 제도_16_2026년 근로장려금
파워링크 광고신청
Good Content Service 비즈폼 컨텐츠 서비스,문서서식사이트 최초우수성 인증