
BEST
umji1***님이
비즈폼을 추천합니다.
비즈폼을 추천합니다.
비즈폼으로 일의 효율을 바꾸세요.
하루 300원으로 문서 작성 시간을 월 평균 20시간 절약하세요!
프리미엄 멤버십
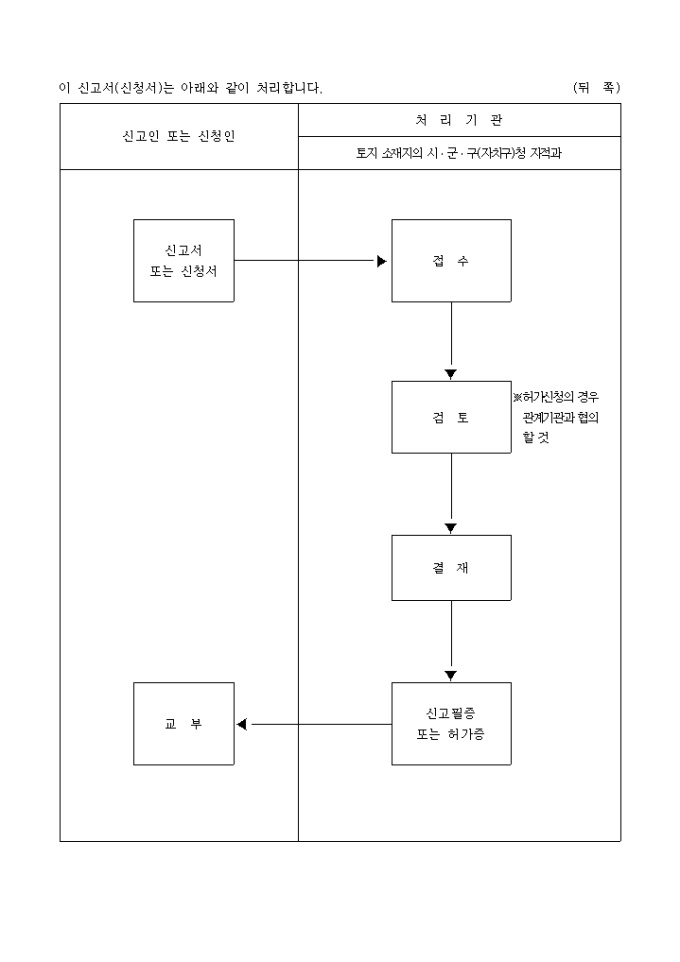
9,000원/월외국인토지법 제4조 내지 제6조 및 동법시행령 제3조의 규정에 의하여 신고(허가를 신청)하고자 할 때 사용하는 "별지 제1호 토지 취득신고서, 토지 계속 보유신고서, 토지 취득 허가신청서" 양식입니다.

사무실 운영하면서 딱히 부동산에 알맞는 프로그램을 찾지못해서 따로 정리를 하고 있었는데
오늘 다운받은 서식은 법정서류에 기입되어있는 정보까지 체계적으로 입력...

아르바이트 급여관리프로그램을 따로 하고싶어서 이곳저곳 많은 사이트 두리번 거리다가 비즈폼 발견해서 지금도 잘 쓰고 있어요. 단품으로 급여관리랑 라벨지만 따로 구입...
시급제 급여관리 프로그램(4대보험요율 자동 업데이트, 급여대장, 급여명세서, 급여입금내역서, 급여통계관리)
이번주 무료메일에서 무료다운로드 받으실 수 있습니다.
회원님의 메일함을 확인해주세요! (매주 화요일 발송)
※ 이번주에 신청하시면, 다음주 메일부터 받아보실 수 있습니다.